Recently in a story by Zerohedge there was mention diabolical patent from 2015 that recently had it’s application granted 2022-12-06. The patent describes an evasive, flying, 5mg mosquito like drones that can be disbursed by vehicle and be used to track people, gather information and deliver ‘drugs’.
“A ‘drone’ used herein may be a mechanical device, electromechanical device, other self-propelled device, or a robotic device that can use one or more modes of transportation such as but not limited to flying, swimming, rolling, crawling, wheeling, and/or other movement mode to travel to a subject.”
Patient
After reading through it there’s no doubt this nightmare technology is a technocrats wet dream. Here’s some of the most egregious statements made in the patent. Don’t let the flowerily language of consent fool you, there can be nothing benevolent about this innovation.

“Optionally, some embodiments could be designed to leave something behind such as but not limited to an RFID chip or other tag, wherein the sampling device is not limited to just sampling. Some embodiment of the sampling device can use multiple tubes such as but not limited to one for sampling one for delivery. Not only sampling blood but could be interstitial fluid or tissue sensor.“
“Optionally, some embodiments may extract the same or different types of sample from at least two different target sites on the subject. In terms of identification, some embodiments may identify a generic target (any human, any animal, any moving object) or a specific target (facial recognition; iris scan; biometrics; chemicals; chemical signature, DNA). Optionally some embodiments may perform target identification after the sample has been acquired. Various techniques may be used for target classification and where appropriate for target uniqueness.”

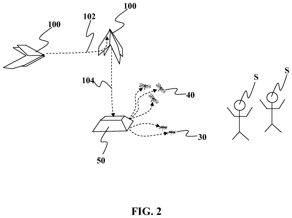
“One embodiment may configure the drone to certain length/weight scales for mobility for sample collection and/or drug delivery. For example, some may only use drones of 10 mm or less. Optionally, some may use drones that are only 5 mg or less. Some embodiments may be aggregated (like a fireworks shell) that scatter when activated. Optionally, different drones have different tasks that can self-assemble into a larger operating organism.
“Optionally, sampling theory and statistics is used as part of one implementation in terms of disease or other outbreak detection. In one embodiment, sampling theory and statistics can be used to determine where to further sample based on a first round of sampling or prior to the start of sampling. Sampling theory and statistics can also be used to adjust sampling strategy based on real-time information sent back about partial analysis, on board analysis, and/or remote analysis”
“In one embodiment, an example of such a group of subjects may be all patients associated with a particular health insurance company, doctor group, medical group, or other affiliation (health-related or otherwise). Optionally, it can be by some other segmentation. Optionally, some embodiments may further have subjects wear beacons, identifiers, other devices, other materials, or other items that may be used to help facilitate target acquisition by the sampling device. For example, some may wear Bluetooth standard transmitters, infrared transmitters, or other device now known or to be developed in the future to transmit non-human audible signal to facilitate sample acquisition. Deployment on a military environment may be useful due to greater ease of initial agreement to such a sampling paradigm.”

“A subject’s bodily fluid is being tested hourly or other frequent interval without the subject’s explicit knowledge. This may be to monitor the subject’s health. One would look for outliers, look for trend, or other features in the analyte measurements that take the sample out of the background of normal readings, wherein normal may be defined for that particular individual or for a group of subjects having common characteristics (weight, age, sex, etc.). When appropriate, the system may be configured to notify doctors, insurance companies, or whoever else would benefit from knowing or who are on a pre-determined or real-time determined list of people or entities to contact.”
“In one non-limiting example, one option is to park vehicles with the sampling technology close to subject location(s). Optionally, one can pre-position vehicles with the sampling technology close to subject location(s). In another embodiment of a blood-test-on-wheels system, an autonomous vehicle may be used to transport a device to the subject and then collect the blood sample.”
“Diluents, or other additives. Optionally, the term painlessly in any of the foregoing examples may be instead replaced with the term undetectably. Optionally, the term painlessly in any of the foregoing examples may be instead replaced with the term unobtrusively. Optionally, the term painlessly in any of the foregoing examples may be instead replaced with the term rapidly.”

“Optionally, the autonomous sample and autonomous transport sampling devices may be used alone or in conjunction with other devices. For example, some embodiments herein may be configured to locate sample collection device(s) as part of objects that a user may touch everyday such as but not limited to handle bars, stair rails, bathroom toilet seat, floor of bathtub or shower, weighing surface of weight scale, steering wheel of a vehicle, seat on a vehicle, sofa, chair, and/or the like. Optionally, one may go for using a sampling device in an object that everyone contacts on a weekly or daily basis.”

Sources:
https://www.zerohedge.com/geopolitical/age-drones
https://patents.google.com/patent/US11517232B1/en

